Комментарии 0
...комментариев пока нет
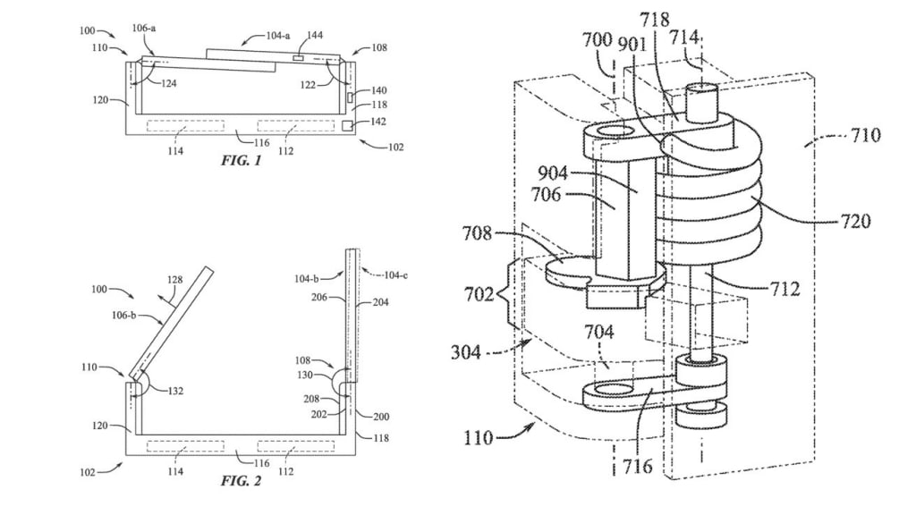
Apple проявляет интерес к давно позабытому гаджету: инженеры возобновили работу над Apple Glass, релиз которых ждали в 2020 году.
Команда Тим Кука снова проявляет активность в отношении «умных» очков, на что намекнул новый патент: двухосевой шарнир позволит гаджету подстраиваться под разные размеры головы.